Wednesday, October 29, 2025     
     Serving the Electronic Industries for Over 33 Years
Viking Multi-Pins plugs receptacles Logo
Renata Lithium Button Coin Cells Batteries logo
xytronic Soldering and Desoldering Tools Logo
Dantona Recharable batteries Logo
     Electronic Components Distributor Logo                        
 Home
  |  View Account   |    Engineer's Corner    |  Contact Us  |  Cross Reference  |  Line Card  |  0 Item
Part Search
NTE Cross Ref. Search
Login
SRI Live Chat Help
call us email us contact us
 
Recently Viewed
  03-06-1361

Product Links

Inside SRI

About SRI
Contact Us
Careers
Link to Us!
Feedback

SRI-Newsletter
Subscribe to our newsletter to receive monthly specials, manufacturer's feature, and electronics news via email.

See Our latest release of SRI-Newsletter here

View Our List of Archived Newsletter Articles


SRI Links

Visit our Sister Site,

Distributor of

Industrial Products

  Web Search ..
  Powered by;

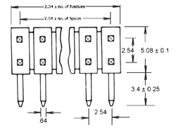
 200 Series Headers
Pin Header 2.54mm
 Features
  • Standoffs allow cleaning to eliminate soldering contaminates
  • Can be manually broken to the desired length
  • Specifications

    Material
    Contact . . . . . . Brass
    Plating . . . . . . Gold over Nickel
    Insulator . . . . . . PBT & 30% Glass Fiber Rated 94V-0

    Electrical
    Current rating . . . . . . 1amp
    Voltage rating . . . . . . 250 VAC
    Contact resistance. . . . . . . 30 milliohms max @ DC 100milliamps
    Insulation resistance . . . . . . 1000 megohm min @ 500 VDC

    Mechanical
    Mechanical life . . . . . . min. 50 cycles
    Operating temp . . . . . . -65° C to +220° C
    Retention clip . . . . . . Spring steel, Heat treated


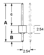
    Straight
    Dimension
    A
    B
    1
    6.00/.236"
    3.00/.118"
    2
    13.90/0.55"
    5.30/0.21"
    3
    24.00/0.94"
    15.60/0.61"
    4
    13.15/.518"
    2.54/0.10"
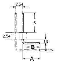
    Right Angle
    5
    8.89/.35"
    5.08/.20"


    Straight

    Right Angle

    Part Builder and Ordering Information
    200

    200 -   1 S -   20 -   1
         
    Series Rows     Type   No. of Pins Dimension
    200 1 = Single Row
    2 = Double Row
        S = Straight
    R = Right Angle
          02 - 40 = Straight Row
    04 - 80 = Double Row
    1
    2
    3
    4
    5


    **Specifications subject to changes**
    [
    Go to Search] [Back]


    Page Links

    Electrical Characteristics

    Mechanical and Environmental Characteristics

    Dimensions, Construction & Circuitry

    Part Numbering System


    Back